Bear with me, I’m learning to click bait.
HOT on the heels of the Wall Street Journal breaking some information about the Nintendo NX comes news of a brand new Nintendo patent filed in the USPTO.
Hold on to your butts!
GRAPHS!
Yeah, graphs.
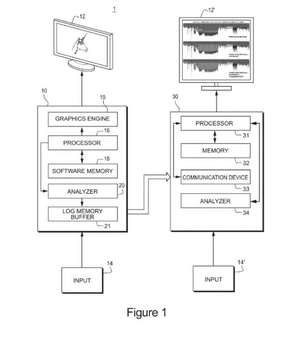
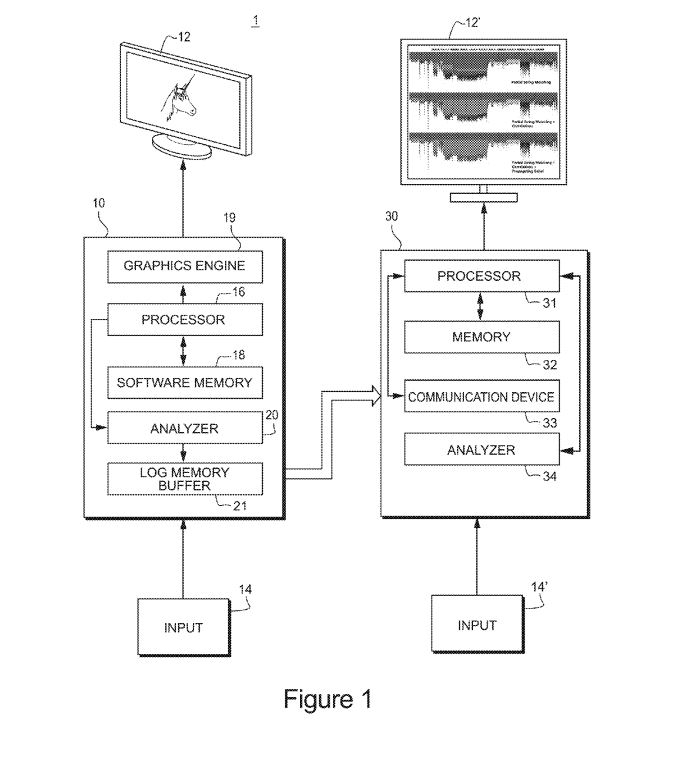
Rather, the “CLASSIFICATION AND DISPLAY OF CODE EXECUTION PROFILE DATA”, as the patent app is titled. Filed by Nintendo, the patent was filed in April 2014 and granted an October 15th, 2015 publication date. The patent reads: “Methods for classifying functions as belonging to a particular software system.”
I have no idea what that means. Diving deeper into the jargon of the patent, it seems to describe ways for software processors to read and execute partial data. This would fall in perfect timing with the company’s newly relaunched developer portal, as it seems to help view software code live during the debugging process.

The information would be shown visually, via GRAPHS, and let developers see where issues are.

I’m reaching here. I’ve sent the patent to a couple of buddies who code and will try to update as soon as possible.
If you know what any of this means, please feel free to drop it into the comments below. But really, a damned unicorn sketch looks great on a flat white screen.
Source: USPTO


No Comments