An account in a cloud that connects Nintendos to Nintendos and gamers to gamers
Nintendo still has some unannounced titles coming to Wii U and 3DS this year
Could Project Guard and Project Robot be coming soon?
Paris: Gran Turismo Sport announced, offers real-world prizes [Trailer]
With Forza taking all of the recent video game racing hype, we’ve waited patiently for any news of a new Gran Turismo. The last game, Gran Turismo 6, debuted on the Playstation 3 back in 2013 just as that console was nearing its twilight. It was a great game, but our hearts were already with…
Paris: Quantic Dream debuts ‘Detroit’ in first trailer [UPDATE]
What happens when an android discovers emotion?
The SideQuest October 23, 2015: Rock Band 4, Assassin’s Creed Syndicate, Halo 5, Chibi Robo
Sam, Tom, Dali & Robyn dive into the big games of Fall, with fresh reviews, plastic guitars, and growing backlogs. The second half of the show shifts focus to the team deciding who belongs on the Mount Rushmore of Game Designers.
Here is the new Star Wars: The Force Awakens trailer
There isn’t much more we need to write. Here it is, the new Star Wars: The Force Awakens trailer. Cry and enjoy.
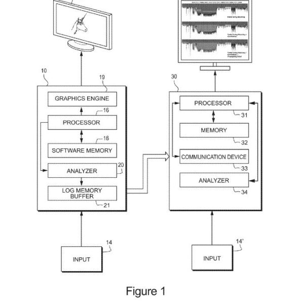
You’ll never believe what Nintendo was just granted a new patent for
Could this be related to the recent NX news?
WSJ Report: Nintendo NX is a console/portable hybrid with industry leading power, third party development beginning
Could Nintendo’s new device be a portable AND a console?
Gun Media’s Summer Camp becomes Friday the 13th
The slasher genre makes a triumphant, terrifying comeback
The Walking Dead Season 6 Premiere review: First Time Again
Entertainment history’s biggest zombie herd ever helps debut Season 6 of The Walking Dead










No Comments